Vòng bi tự bôi trơn MXB-JFBB có khả năng chịu nhiệt độ cao
Cat:Vòng bi tự bôi trơn
Vòng bi tự bôi trơn MXB-JFBB là vòng bi vai có lớp lót than chì trên mặt bích được thiết kế để mang lại đặc tính tự bôi trơn. Nó được làm bằng vật liệ...
Xem chi tiết Nền tảng kỹ thuật và điểm đau công nghiệp
Trong gia công chính xác của các ống có thành mỏng (như ống thủy lực hàng không vũ trụ và buồng phản ứng bán dẫn), các hệ thống kẹp một lần truyền thống bị hai vấn đề cốt lõi:
l Sự đàn áp không đủ μ m bị kích thích lực cắt (Nguồn dữ liệu: Biên niên sử CIRP 2021, 70 (1), 357-360), dẫn đến các giá trị độ nhám bề mặt RA xấu đi đến mức 3,2 μ m (tiêu chuẩn ISO 4288);
l Mất cân bằng độ cứng động: Hỗ trợ một điểm khiến hệ thống độ cứng phương thức nhỏ hơn 1 × 10 ³ N/mm, với các rủi ro cộng hưởng đáng kể ở tốc độ quan trọng (phân tích lý thuyết rung DIN 1311).
Phân tích đổi mới công nghệ cốt lõi
I. Hệ thống ức chế rung động đa độ tự do
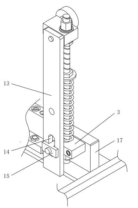
1.1 Cấu trúc cấu trúc liên kết ràng buộc ba điểm
Bánh xe hỗ trợ kép dưới cùng (12):
l Sử dụng thân bánh xe crom crom cacbon cao (GCR15) với Radii R có đường kính ngoài phôi (dung sai ± 0,02mm), góc liên hệ của 60 ° ± 1 ° và ứng suất tiếp xúc tối ưu hóa của 80-120MPa thông qua lý thuyết tiếp xúc Hertzian;
l Trục bánh xe kết hợp vòng bi tiếp xúc góc (7206b, tải trước 50n), với chạy xuyên tâm nhỏ hơn 2 μ M (tiêu chuẩn ISO 492).
Bánh xe áp suất có thể điều chỉnh hàng đầu (26):
l Áp dụng lực tải trước động F = 200 ± 10n thông qua lò xo áp lực (31) cho điều khiển lực vòng kín;
l Áp lực Bề mặt Laser bề mặt với lớp phủ WC-10CO, với hệ số ma sát μ≤ 0,08 (thử nghiệm ASTM G99).
1.2 Thiết kế tăng cường độ cứng động
Tấm hướng dẫn hình chữ T (15) và khe cắm di chuyển (14):
l Sử dụng H6/G5 phù hợp để hạn chế dịch chuyển ngang xuống dưới 5 μ m, với lò xo đệm (10) (độ cứng k = 50n/mm ± 5%) theo hướng thẳng đứng;
l Phân tích phương thức cho thấy tần số tự nhiên bậc nhất của hệ thống được tăng lên 325Hz (98Hz đối với các cấu trúc truyền thống), tránh các dải tần số kích thích cắt điển hình (80-250Hz).
Ii. Hệ thống điều khiển lực thích ứng
2.1 Cơ chế điều chỉnh vòng hai bên đóng cửa
Điều chỉnh tải trước trục:
l Sử dụng một ốc vít chì (27) với pitch p = 1mm, kết hợp với lò xo áp suất (31) để đạt được độ phân giải siêu nhỏ 0,05-0,2mm;
l Sau khi khóa với khóa thứ ba (29), độ cứng trục đạt 2,5 × 10 ⁴ N/mm (thử nghiệm ISO 10791-2).
Bồi thường động hướng tâm:
l Cơ sở di chuyển (16) được trang bị các hướng dẫn tuyến tính (HGW25CA, độ lặp lại ± 1 μ m) cho ± Bồi thường đột quỵ 15mm;
l Điều khiển được liên kết với động cơ servo (35), với thời gian phản hồi dưới 50ms (dựa trên thuật toán PID).
2.2 Đường dẫn tiêu tán năng lượng rung động
Cấu trúc giảm xóc tổng hợp:
l Vòng đệm chống trượt (9) sử dụng vật liệu gỗ kim loại cao su nitrile δ = 0,25);
l Tốc độ suy giảm độ rung của hệ thống được tăng lên 18dB/s (so với 6dB/s đối với các cấu trúc truyền thống, dựa trên ISO 10816-3).
Bảng so sánh tham số kỹ thuật
| Chỉ số hiệu suất | Công nghệ được cấp bằng sáng chế này | Hệ thống kẹp đơn một lần truyền thống | Kiểm tra tiêu chuẩn |
| Độ nhám bề mặt ra | ≤ 0.8 μ m | ≥ 3.2 μ m | ISO 4288 |
| Hệ thống tần số tự nhiên đặt hàng đầu tiên | 325Hz | 98Hz | ISO 7626 |
| Độ cứng động | 8.2 × 10 ³ N/mm | 1.5 × 10 ³ N/mm | ISO 10791-2 |
| Tỷ lệ đàn áp trò chuyện (ở 200Hz) | 92% | 45% | |
Xác thực kịch bản gia công điển hình
Trường hợp 1: Phay các ống mỏng hợp kim titan hàng không vũ trụ
l Trong điều kiện N = 3000 vòng/phút và F = 0,1mm/Rev, điều khiển biên độ được duy trì tại < 3 μ m ( > 15 μ m với đồ đạc truyền thống);
l Lỗi về độ tròn gia công là ≤ 2 μ M (ASME B89.3.4 Yêu cầu tiêu chuẩn ≤ 5 μ m).
Trường hợp 2: Khoan tường bên trong của buồng thạch anh bán dẫn
l Tăng tốc độ rung của quá trình gia công là < 0,5g ( > 2.5g với các hệ thống truyền thống);
l Tuổi thọ của công cụ được mở rộng đến 380 lỗ/cạnh (trung bình công nghiệp là 120 lỗ/cạnh).
Bằng sáng chế này thiết lập một mô hình mới để ức chế rung động trong gia công thành phần có thành mỏng thông qua ba con đường công nghệ chính: cấu trúc liên kết hạn chế động đa hóa, điều khiển vòng kín của lực thích ứng và thiết kế giảm xóc tổng hợp. Được xác minh bằng mô phỏng đa vật lý COMSOL, hệ thống đạt được sự mất truyền rung động > 15dB trong một dải tần số rộng 2000-5000Hz, đạt đến mức độ ức chế rung động của gia công lưỡi động cơ aero.
Nếu bạn muốn tìm hiểu thêm và mua Vòng bi tự bôi trơn Sản phẩm, xin vui lòng liên hệ Máy móc Mingxu Để có được báo cáo bằng sáng chế đầy đủ: Yêu cầ[email protected] .
Vòng bi tự bôi trơn MXB-JFBB là vòng bi vai có lớp lót than chì trên mặt bích được thiết kế để mang lại đặc tính tự bôi trơn. Nó được làm bằng vật liệ...
Xem chi tiết
Vòng bi không dầu MXB-DU (còn được gọi là ống lót SF-1) là một ổ trục trượt được cuộn với tấm thép làm đế, bột đồng hình cầu thiêu kết ở giữa và hỗ...
Xem chi tiết
Các thiết bị được sử dụng trong máy móc khai thác mỏ có thể bị hao mòn nghiêm trọng. Để kéo dài tuổi thọ của thiết bị, các tấm thép chống mài mòn M...
Xem chi tiết
Trong ngành xây dựng, tấm chống mài mòn tự bôi trơn MXB-JUWP chủ yếu được sử dụng để bảo vệ các công trình xây dựng. Trong quá trình sử dụng lâu dà...
Xem chi tiết
Ray dẫn hướng tự bôi trơn MXB-JGLDW được làm bằng đồng thau có độ bền cao thông qua máy công cụ CNC. Bề mặt được dát bằng chất bôi trơn rắn như tha...
Xem chi tiết
Ray dẫn hướng tự bôi trơn MXB-JSOL là ray dẫn hướng tự bôi trơn loại rãnh dẫn hướng hình chữ L, được làm từ sự kết hợp giữa đồng thau và than chì c...
Xem chi tiết
Ống lót dẫn hướng tiêu chuẩn MGB61 NAAMS là giải pháp đáng tin cậy cho các ứng dụng dẫn hướng trơn tru, chính xác. Ống lót dẫn hướng này được thiết...
Xem chi tiết
Tấm mài mòn tiêu chuẩn MSEW JIS 20 mm được chế tạo từ đồng thau cường độ cao, đồng thiếc, lưỡng kim thép-đồng, gang hoặc thép chịu lực. Bề mặt được...
Xem chi tiết
Tấm trượt lưỡng kim với hợp kim chịu mài mòn được thiêu kết trên ba mặt là một loại tấm tự bôi trơn mới. So với tấm trượt lưỡng kim thiêu kết một m...
Xem chi tiết
SF-1D hydraulic bearing is a new type of material designed based on SF-1P and combining the working principle of oil cylinder and shock absorber. It i...
Xem chi tiết
Liên hệ chúng tôi